<p>Vue éclatée 21 pour HYTRACK JOBBER eV5 2024 – retrouvez la liste complète des composants d'origine et identifiez rapidement la pièce compatible.</p>
<p>Vue éclatée 22 pour HYTRACK JOBBER 1100 DMAXX BASIC – retrouvez la liste complète des composants d'origine et identifiez rapidement la pièce compatible.</p>
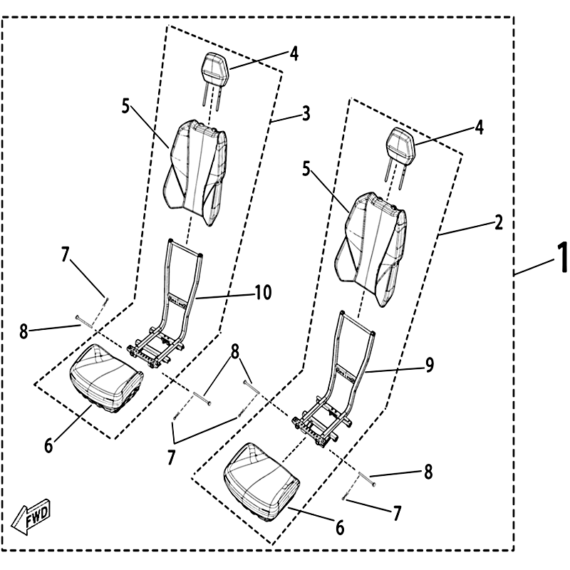
<p>Vue éclatée 22 pour HYTRACK JOBBER eV5 2024 – retrouvez la liste complète des composants d'origine et identifiez rapidement la pièce compatible.</p>
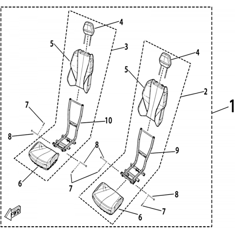
<p>Vue éclatée 22 pour HYTRACK JOBBER eV5 FULL 2024 – retrouvez la liste complète des composants d'origine et identifiez rapidement la pièce compatible.</p>
<p>Vue éclatée 23 pour HYTRACK JOBBER eV5 2024 – retrouvez la liste complète des composants d'origine et identifiez rapidement la pièce compatible.</p>
<p>Vue éclatée 23 pour HYTRACK JOBBER 1100 DMAXX BASIC – retrouvez la liste complète des composants d'origine et identifiez rapidement la pièce compatible.</p>
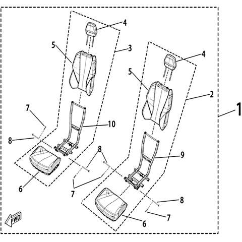
<p>Vue éclatée 23 pour HYTRACK JOBBER eV5 FULL 2024 – retrouvez la liste complète des composants d'origine et identifiez rapidement la pièce compatible.</p>
<p>Vue éclatée 24 pour HYTRACK JOBBER eV5 FULL 2024 – retrouvez la liste complète des composants d'origine et identifiez rapidement la pièce compatible.</p>
<p>Vue éclatée 24 pour HYTRACK JOBBER 1100 DMAXX BASIC – retrouvez la liste complète des composants d'origine et identifiez rapidement la pièce compatible.</p>
<p>Vue éclatée 24 pour HYTRACK JOBBER eV5 2024 – retrouvez la liste complète des composants d'origine et identifiez rapidement la pièce compatible.</p>
<p>Vue éclatée 25 pour HYTRACK JOBBER 1100 DMAXX BASIC – retrouvez la liste complète des composants d'origine et identifiez rapidement la pièce compatible.</p>
<p>Vue éclatée 25 pour HYTRACK JOBBER eV5 2024 – retrouvez la liste complète des composants d'origine et identifiez rapidement la pièce compatible.</p>
<p>Vue éclatée 25 pour HYTRACK JOBBER eV5 FULL 2024 – retrouvez la liste complète des composants d'origine et identifiez rapidement la pièce compatible.</p>
<p>Vue éclatée 26 pour HYTRACK JOBBER eV5 2024 – retrouvez la liste complète des composants d'origine et identifiez rapidement la pièce compatible.</p>
<p>Vue éclatée 26 pour HYTRACK JOBBER eV5 FULL 2024 – retrouvez la liste complète des composants d'origine et identifiez rapidement la pièce compatible.</p>
<p>Vue éclatée 26 pour HYTRACK JOBBER 1100 DMAXX BASIC – retrouvez la liste complète des composants d'origine et identifiez rapidement la pièce compatible.</p>
<p>Vue éclatée 27 pour HYTRACK JOBBER eV5 2024 – retrouvez la liste complète des composants d'origine et identifiez rapidement la pièce compatible.</p>
<p>Vue éclatée 27 pour HYTRACK JOBBER 1100 DMAXX BASIC – retrouvez la liste complète des composants d'origine et identifiez rapidement la pièce compatible.</p>
<p>Vue éclatée 27 pour HYTRACK JOBBER eV5 FULL 2024 – retrouvez la liste complète des composants d'origine et identifiez rapidement la pièce compatible.</p>
<p>Vue éclatée 28 pour HYTRACK JOBBER eV5 FULL 2024 – retrouvez la liste complète des composants d'origine et identifiez rapidement la pièce compatible.</p>
<p>Vue éclatée 28 pour HYTRACK JOBBER eV5 2024 – retrouvez la liste complète des composants d'origine et identifiez rapidement la pièce compatible.</p>
<p>Vue éclatée 28 pour HYTRACK JOBBER 1100 DMAXX BASIC – retrouvez la liste complète des composants d'origine et identifiez rapidement la pièce compatible.</p>
<p>Vue éclatée 29 pour HYTRACK JOBBER eV5 FULL 2024 – retrouvez la liste complète des composants d'origine et identifiez rapidement la pièce compatible.</p>
<p>Vue éclatée 29 pour HYTRACK JOBBER 1100 DMAXX BASIC – retrouvez la liste complète des composants d'origine et identifiez rapidement la pièce compatible.</p>
<p>Vue éclatée 29 pour HYTRACK JOBBER eV5 2024 – retrouvez la liste complète des composants d'origine et identifiez rapidement la pièce compatible.</p>
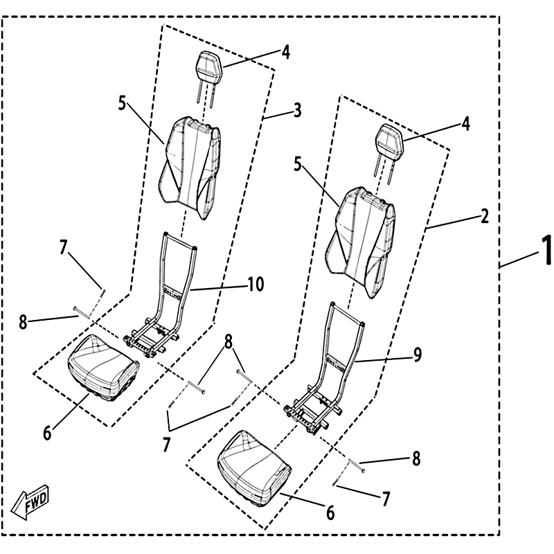
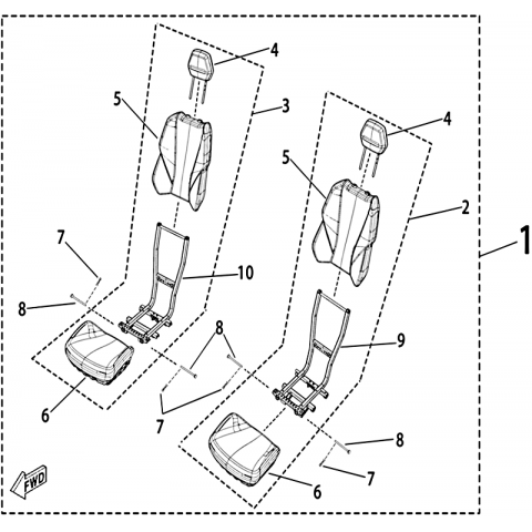
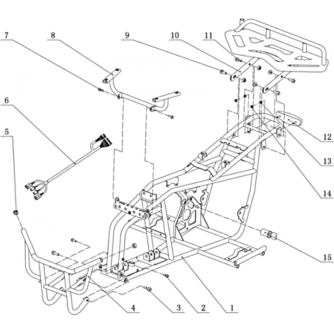
<p>Vue éclatée 3 pour HYTRACK JOBBER eV5 FULL 2024 – retrouvez la liste complète des composants d'origine et identifiez rapidement la pièce compatible.</p>
<p>Vue éclatée 3 pour HYTRACK JOBBER 1100 DMAXX BASIC – retrouvez la liste complète des composants d'origine et identifiez rapidement la pièce compatible.</p>
<p>Vue éclatée 30 pour HYTRACK JOBBER eV5 FULL 2024 – retrouvez la liste complète des composants d'origine et identifiez rapidement la pièce compatible.</p>
<p>Vue éclatée 30 pour HYTRACK JOBBER 1100 DMAXX BASIC – retrouvez la liste complète des composants d'origine et identifiez rapidement la pièce compatible.</p>
<p>Vue éclatée 31 pour HYTRACK JOBBER 1100 DMAXX BASIC – retrouvez la liste complète des composants d'origine et identifiez rapidement la pièce compatible.</p>
<p>Vue éclatée 31 pour HYTRACK JOBBER eV5 FULL 2024 – retrouvez la liste complète des composants d'origine et identifiez rapidement la pièce compatible.</p>
<p>Vue éclatée 32 pour HYTRACK JOBBER 1100 DMAXX BASIC – retrouvez la liste complète des composants d'origine et identifiez rapidement la pièce compatible.</p>
<p>Vue éclatée 33 pour HYTRACK JOBBER 1100 DMAXX BASIC – retrouvez la liste complète des composants d'origine et identifiez rapidement la pièce compatible.</p>
<p>Vue éclatée 34 pour HYTRACK JOBBER 1100 DMAXX BASIC – retrouvez la liste complète des composants d'origine et identifiez rapidement la pièce compatible.</p>
<p>Vue éclatée 35 pour HYTRACK JOBBER 1100 DMAXX BASIC – retrouvez la liste complète des composants d'origine et identifiez rapidement la pièce compatible.</p>
<p>Vue éclatée 36 pour HYTRACK JOBBER 1100 DMAXX BASIC – retrouvez la liste complète des composants d'origine et identifiez rapidement la pièce compatible.</p>
<p>Vue éclatée 37 pour HYTRACK JOBBER 1100 DMAXX BASIC – retrouvez la liste complète des composants d'origine et identifiez rapidement la pièce compatible.</p>
<p>Vue éclatée 38 pour HYTRACK JOBBER 1100 DMAXX BASIC – retrouvez la liste complète des composants d'origine et identifiez rapidement la pièce compatible.</p>
<p>Vue éclatée 39 pour HYTRACK JOBBER 1100 DMAXX BASIC – retrouvez la liste complète des composants d'origine et identifiez rapidement la pièce compatible.</p>
<p>Vue éclatée 4 pour HYTRACK JOBBER eV5 FULL 2024 – retrouvez la liste complète des composants d'origine et identifiez rapidement la pièce compatible.</p>