5

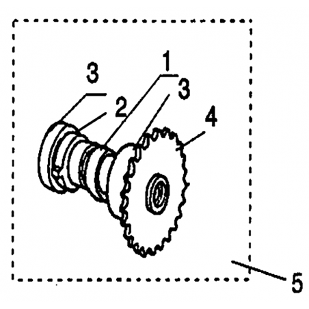
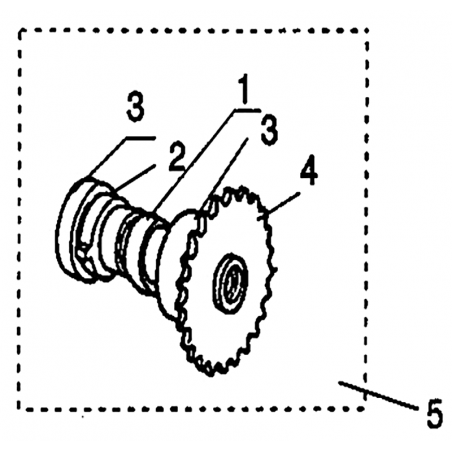
ENSEMBLE ARBRE A CAME Ref HY2531079

ENSEMBLE ARBRE A CAME : ENSEMBLE ARBRE A CAME 69,60 € done_outline
5003_20_0001

Références spécifiques

Cliquez ici pour laisser un commentaire