Il y a 47 produits.

Affichage 1-47 de 47 article(s)

Filtres actifs

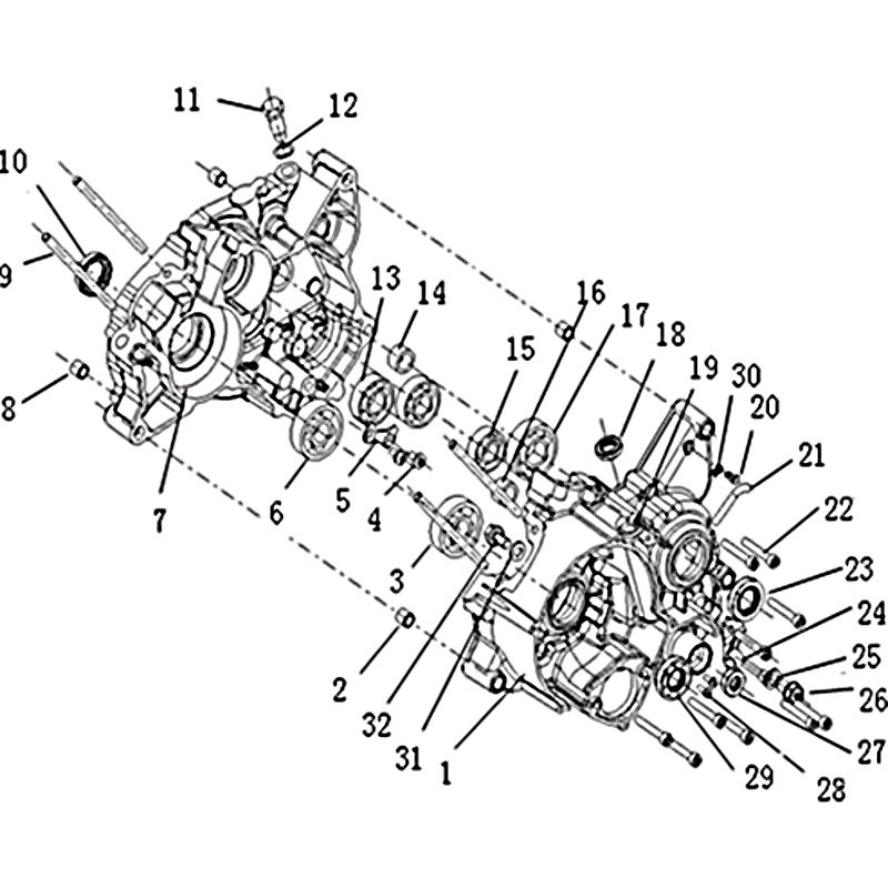
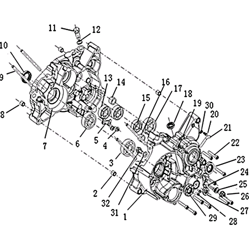
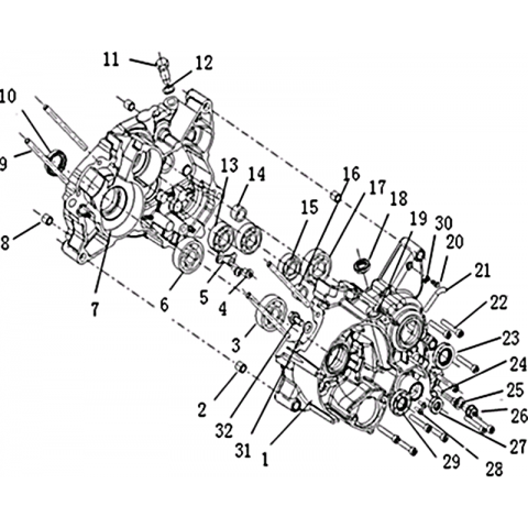
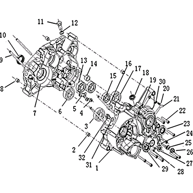
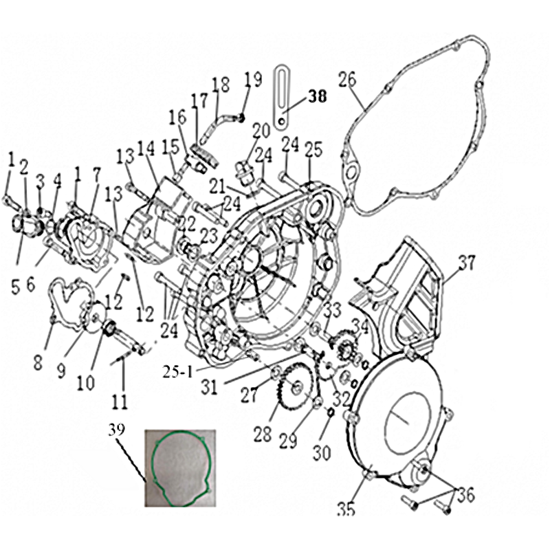
1 - CARTER MOTEUR MOTO...

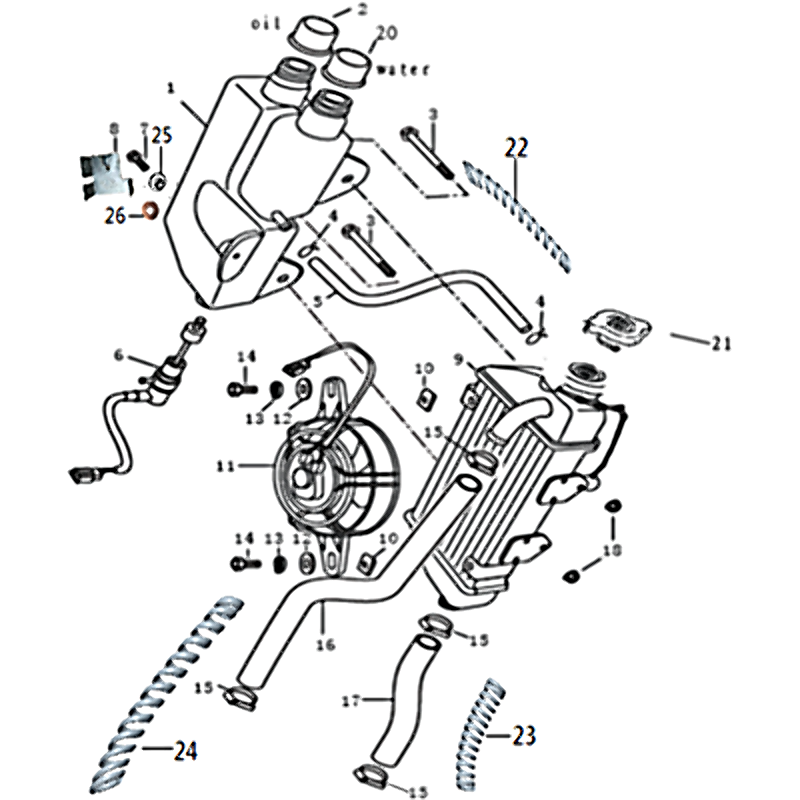
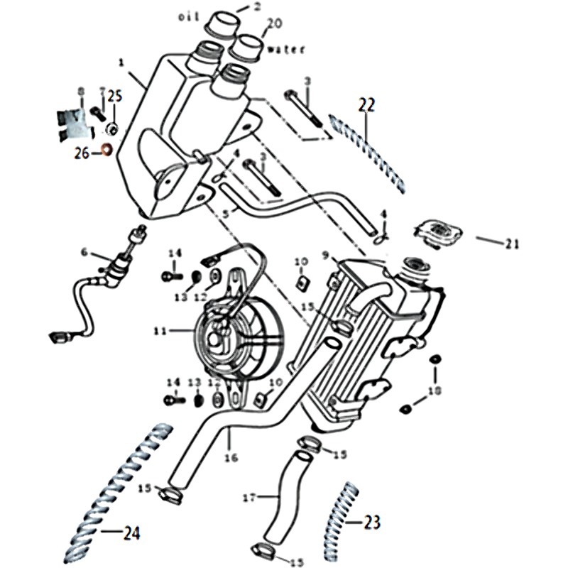
2 - HAUT MOTEUR MOTO MASAI...

3 - ADMISSION MOTO MASAI...

4 - VILEBREQUIN / PISTON...

5 - CARTER EMBRAYAGE MOTO...

6 - EMBRAYAGE MOTO MASAI...

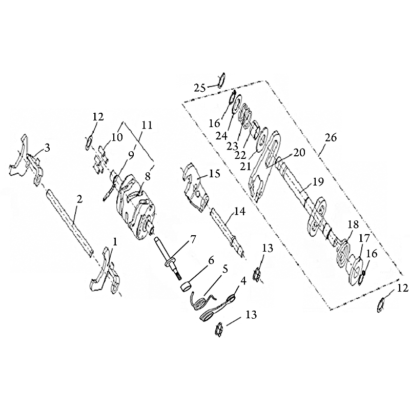
7 - POMPE A HUILE MOTO...

8 - ARBRE D'EQUILIBRAGE...

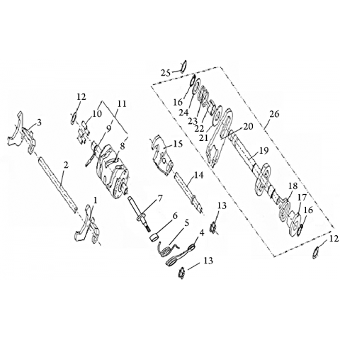
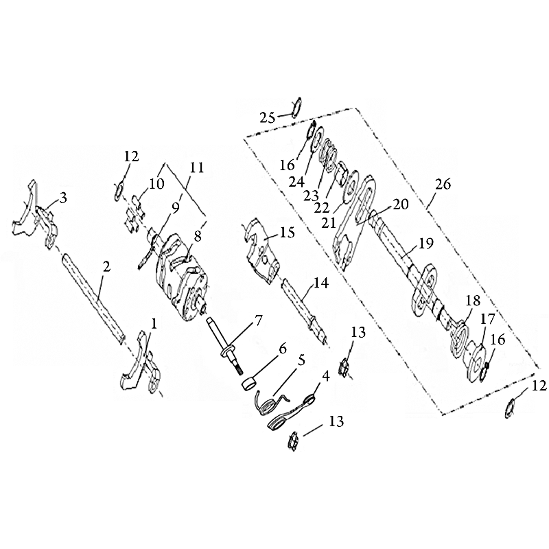
9 - BOITE DE VITESSES MOTO...

10 - KICK MOTO MASAI RAZER 50

11 - SELECTEUR DE VITESSES...

12 - DEMARREUR MOTO MASAI...

13 - ALTERNATEUR MOTO MASAI...

14 - CARBURATEUR MOTO MASAI...

15 - ENSEMBLE...

16 - VANNE ALIMENTATION D...

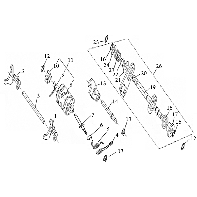
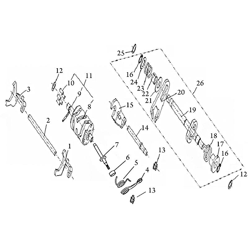
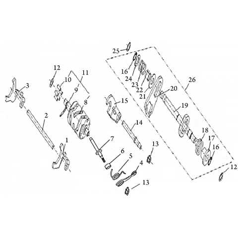
17 - ROBINET DE CARBURANT...

18 - ECHAPPEMENT MOTO MASAI...

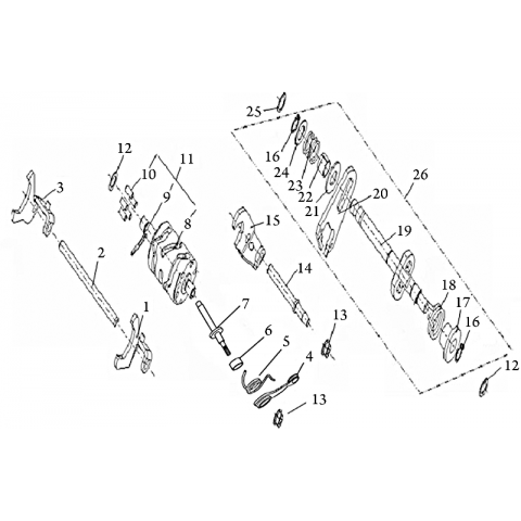
19 - AMORTISSEUR MOTO MASAI...

20 - LEVIER EMBRAYAGE MOTO...

21 - FREIN AVANT MOTO MASAI...

22 - FREIN ARRIERE MOTO...

23 - FOURCHE MOTO MASAI...

24 - PASSAGE DE ROUE MOTO...

25 - BOITE A AIR MOTO MASAI...

26 - CHASSIS MOTO MASAI...

27 - BRAS OSCILLANT MOTO...

28 - BIELLETTE DE...

29 - GUIDON / COMMODO /...

30 - RESERVOIR A CARBURANT...

31 - CALE-PIED MOTO MASAI...

32 - BEQUILLE / LEVIER...

33 - PROTECTIONS / GARDE...

34 - ROUE AVANT MOTO MASAI...

35 - ROUE ARRIERE MOTO...

36 - SELLE MOTO MASAI RAZER 50

37 - CACHES AVANT LATERAUX...

38 - CACHE FEU AVANT MOTO...

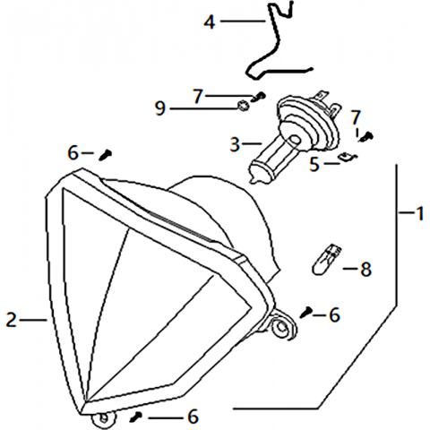
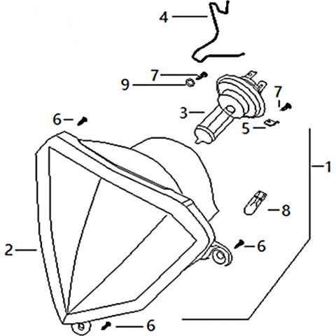
39 - CACHES LATERAUX ET...

40 - ENSEMBLE SERRURE MOTO...

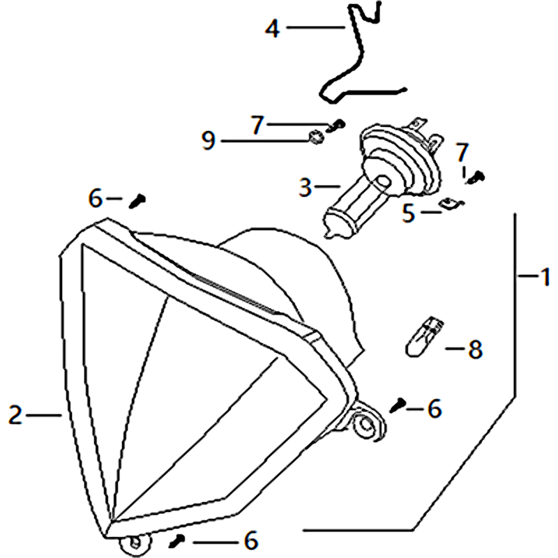
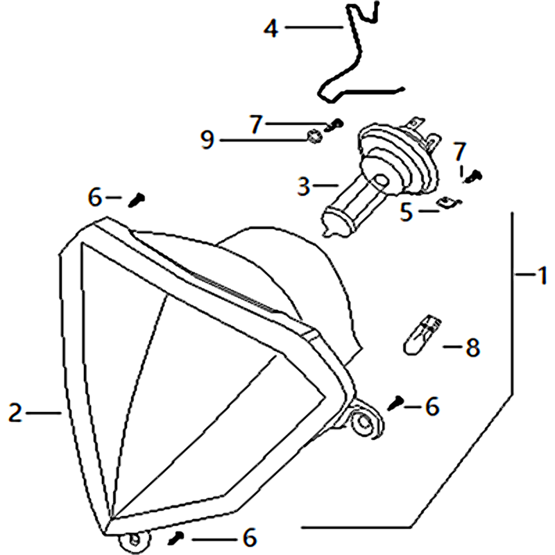
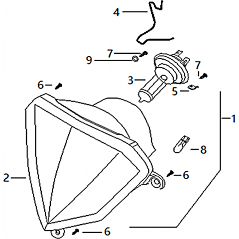
41 - ECLAIRAGE AVANT MOTO...

42 - ECLAIRAGE ARRIERE MOTO...

43 - CLIGNOTANTS MOTO MASAI...

44 - COMPTEUR MOTO MASAI...

45 - ENSEMBLE ELECTRIQUE...

46 - BATTERIE MOTO MASAI...

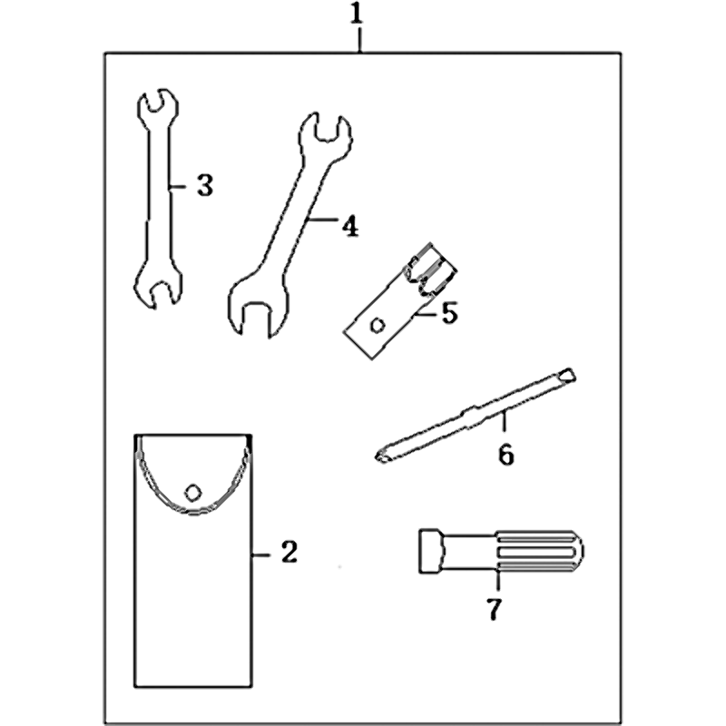
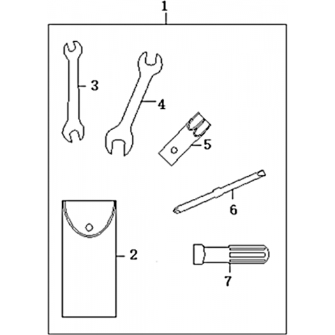
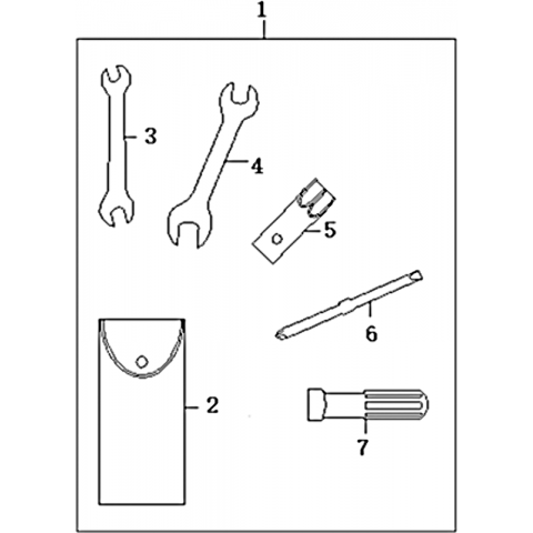
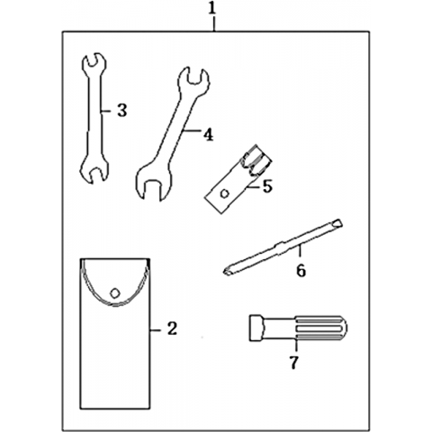
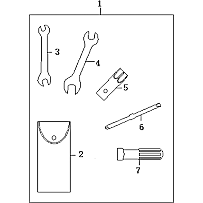
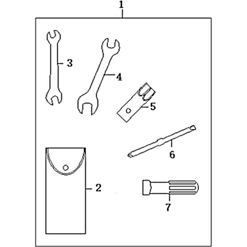
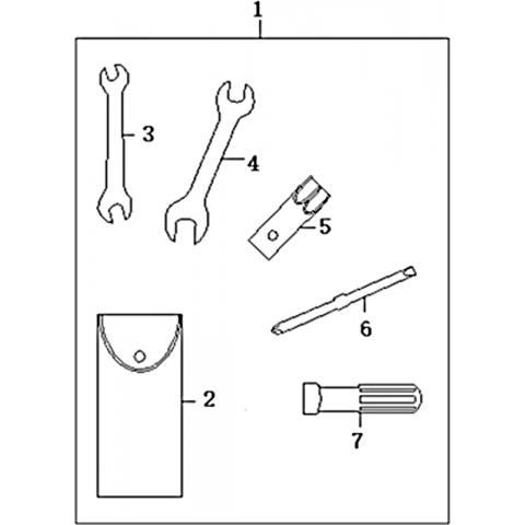
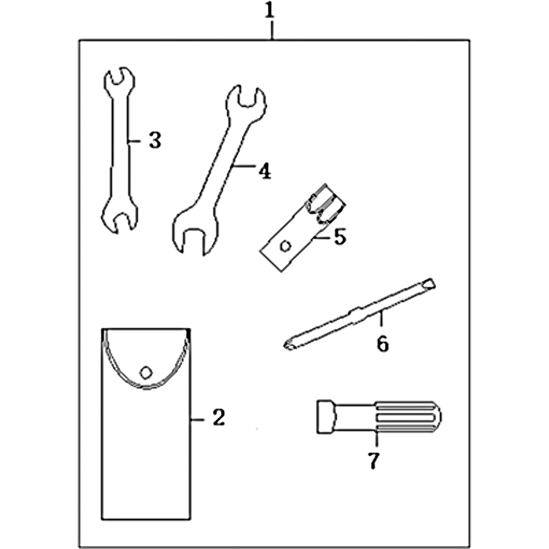
47 - TROUSSE A OUTILS MOTO...